مقدمة عن الهاتف الجديد
تستعد شركة سامسونج لإطلاق هاتف ذكي فريد من نوعه هذا العام، حيث يُتوقع أن يكون أول هاتف من نوع tri-fold في السوق، وهو ما يعكس التزام الشركة بالابتكار وتقديم تقنيات متقدمة لمستخدميها، على الرغم من أن الشركة لم تكشف بعد عن موعد الإطلاق الرسمي، إلا أن تسريبات براءات الاختراع والمستندات التقنية التي ظهرت مؤخرًا تشير إلى تصميم مميز وميزات غير مسبوقة، يُشاع أن اسم الهاتف سيكون Galaxy Z TriFold، وهو ما يعكس تصميمه ثلاثي الطي، مما يتيح للمستخدمين تجربة شاشة أكبر مع مرونة في الاستخدام والتنقل.

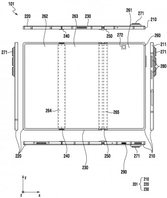
تصميم البطاريات الثلاثة
وفقًا لوثيقة براءة الاختراع التي نشرتها وكالة KIPRIS، فإن الهاتف الجديد سيحتوي على ثلاث بطاريات مدمجة بشكل استراتيجي داخل أجزاء الجهاز المختلفة، يظهر الرسم التخطيطي أن البطارية الأصغر (T1) تقع داخل الجزء الذي يضم الكاميرات الثلاثية الخلفية، مما يساهم في توزيع الوزن بشكل متوازن وتحسين الأداء، أما البطارية الثانية (T3)، فهي موجودة داخل الجزء الذي يحتوي على الشاشة الخارجية، مما يتيح للمستخدم التفاعل مع الهاتف دون الحاجة لفتح الطي، أما البطارية الأكبر (T2)، فهي تقع بين الجزأين الآخرين عند طي الهاتف، وتعمل على تزويد الجهاز بطاقة إضافية لضمان عمر بطارية طويل وأداء مستقر، هذا التصميم المبتكر يهدف إلى استغلال المساحة بشكل فعال، مع ضمان توازن في الوزن وسهولة في الاستخدام.


مواصفات البطاريات
حتى الآن، لم تكشف براءة الاختراع عن سعة البطاريات الفردية أو الإجمالية، أو عن تفاصيل تقنية حول سرعة الشحن أو كفاءتها، ومع ذلك، يُتوقع أن تكون البطاريات محسنة مقارنةً بنماذج سابقة، خاصة مع التركيز على تقديم عمر بطارية أطول وأداء أكثر كفاءة، من المعروف أن شركة سامسونج كانت دائمًا تسعى لتحسين قدرات بطارياتها، ويُحتمل أن يأتي Galaxy Z TriFold ببطاريات ذات سعة أكبر من تلك الموجودة في Galaxy Z Fold7، الذي جاء ببطارية سعة 4400 مللي أمبير في الساعة، مع دعم لشحن سلكي بقوة 25 واط، من المتوقع أن يوفر الهاتف الجديد أداءً فائقًا مع دعم تقنيات الشحن السريع، وربما تحسينات في استهلاك الطاقة، مما يتيح للمستخدمين استخدام الهاتف لفترات أطول دون الحاجة لإعادة الشحن بشكل متكرر.
مميزات وتصميم الهاتف
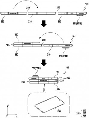
يُظهر الرسم التخطيطي أن تصميم الهاتف يتضمن ثلاثة أجزاء قابلة للطي، مع توزيع البطاريات بشكل يضمن استغلال المساحة بشكل فعال، من المتوقع أن يكون الهاتف مزودًا بشاشة خارجية صغيرة لعرض الإشعارات والوقت، وشاشة داخلية كبيرة توفر تجربة مشاهدة غامرة عند فتح الهاتف، التصميم المرن يتيح طي الهاتف بشكل مريح وسلس، مع تقليل حجم الجهاز عند الطي ليصبح أكثر سهولة في الحمل والتخزين، كما يُحتمل أن يتضمن الهاتف تقنيات حديثة في مجال الشاشات، مثل تقنية OLED عالية الجودة، مع حواف ضيقة لضمان أقصى استفادة من مساحة العرض، بالإضافة إلى ذلك، من المتوقع أن يتميز الهاتف بكاميرات متقدمة، مع أنظمة تصوير متطورة تتيح للمستخدم التقاط صور وفيديوهات عالية الجودة، سواء عند استخدام الشاشة الخارجية أو الداخلية.
الانتشار والأسواق المستهدفة
كانت هناك تكهنات تشير إلى أن الهاتف الجديد سيكون حصريًا في السوق الكورية والصينية، نظرًا لكونهما من أكبر الأسواق التي تتبنى تقنيات الهواتف القابلة للطي، ومع ذلك، تشير الأنباء الأخيرة إلى أن سامسونج قد تخطط لإطلاق الهاتف أيضًا في السوق الأمريكية، بهدف الوصول إلى جمهور أوسع من المستخدمين الباحثين عن هواتف ذكية متطورة وذات تصميم فريد، من المتوقع أن يتم الكشف عن الهاتف رسميًا في نهاية هذا الشهر، وفقًا للشائعات والتسريبات الأخيرة، مما يثير اهتمام الكثير من عشاق التقنية والمستخدمين المحتملين الذين يتطلعون إلى تجربة تقنية جديدة ومبتكرة.
مقارنة مع الهواتف السابقة
بالنظر إلى أن الهاتف الجديد سيحتوي على ثلاث بطاريات، فمن المتوقع أن يوفر عمر بطارية أطول وأداءً محسّنًا مقارنةً بـ Galaxy Z Fold7، الذي جاء ببطارية سعة 4400 مللي أمبير في الساعة، مع وجود ثلاث بطاريات، يمكن أن يحقق الهاتف الجديد توازنًا مثاليًا بين الأداء والاعتمادية، مع تقليل الحاجة لإعادة الشحن بشكل متكرر، بالإضافة إلى ذلك، يُحتمل أن تأتي التحسينات في سرعة الشحن والكفاءة مع هذا النموذج، مما يعزز من تجربة المستخدم ويجعله أكثر جاذبية للمستخدمين الذين يبحثون عن هاتف ذكي قوي ومرن، كما أن التصميم ثلاثي الطي يمنح المستخدمين مرونة أكبر في الاستخدام، سواء للاستمتاع بمشاهدة المحتوى، أو لإجراء المكالمات، أو لتصفح الإنترنت، مع الحفاظ على حجم مناسب وسهولة في الحمل.
